2.000 ₺ VE ÜZERİ ALIŞVERİŞİNİZDE KARGO ÜCRETSİZ
Menü
Üye Girişi
Şifremi Unuttum
Kayıt Ol
Sepetim

BT40ER16100 - BT40 ER16-100 PENS BAŞLIĞI

Katolog Kodu : BT40 ER16 100
1.806,30 TL + KDV
Fiyat Alarmı

Tükendi

Teslimat Sorunuz
1.806,30 TL + KDV

JIS B 6339 (MAS403 BT) AD&B Balanced G6.3

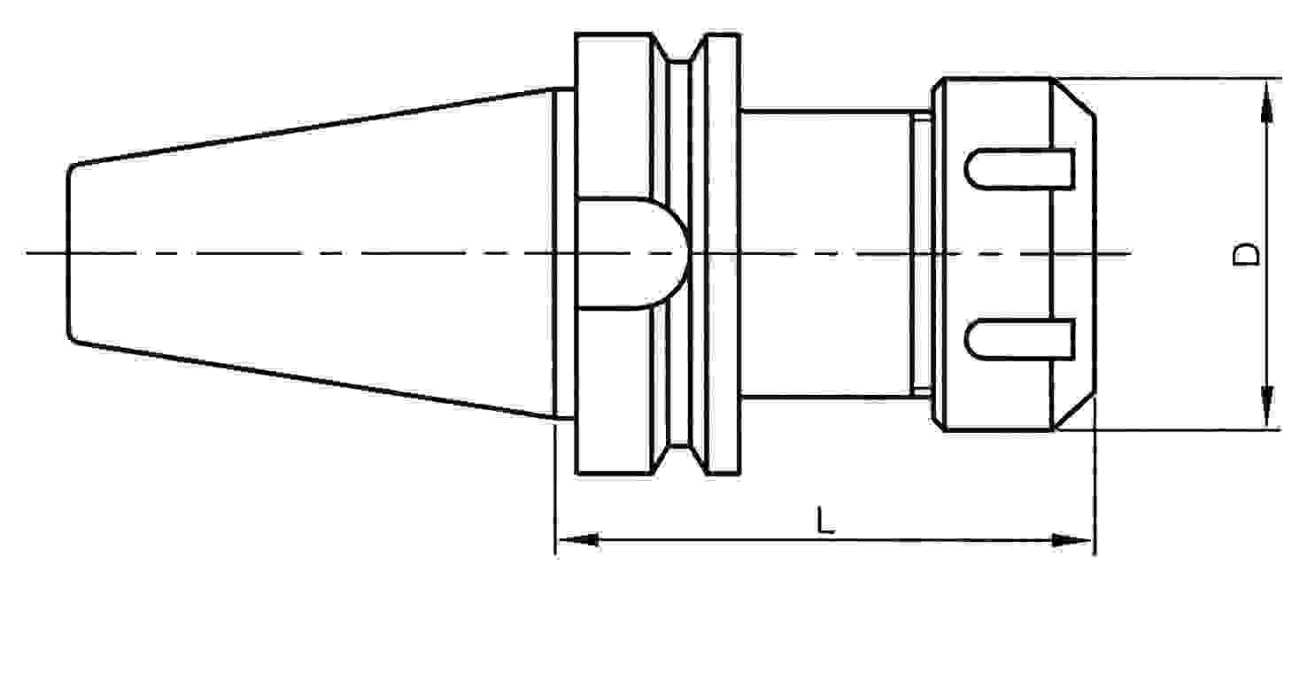
BT40 ER16 100 PENS BAŞLIĞI 

  • Pens Tipi ve Ø Sıkma Aralığı: ER16 100  Ø1-12.5mm 
  • Soğutma Tipi: AD&B 
  • Balans: G6.3 
  • D: 28mm 
  • L: 100mm
  • Somun Tipi ve Kodu: ER16 Altıköşe - NER16H
  • Anahtar Tipi ve Kodu: ER16 Altıköşe - SPER16H (Ayrı Satılır)
  • Çektirme Vidası Ölçüsü: M16 (Ayrı Satılır)
  • Mesafe Ayarlı Takım Dayama Vidası Vardır
  • Ambalaj İçeriği: 1 Adet 
  • G2.5 Balanslı istek üzerine mevcuttur
  • Marka: Gürkan 

İlgili Katalog Sayfası;   (107 KB)

Gürkan Genel Katolog 2023  (16.72 MB)

T-Soft E-Ticaret Sistemleriyle Hazırlanmıştır.