2.000 ₺ VE ÜZERİ ALIŞVERİŞİNİZDE KARGO ÜCRETSİZ
Menü
Üye Girişi
Şifremi Unuttum
Kayıt Ol
Sepetim

161E100H - 161E DIN6343 PENS 10MM ALTIKÖŞE

Katolog Kodu : 161E100H
1.854,50 TL + KDV
Fiyat Alarmı

Tükendi

Teslimat Sorunuz
1.854,50 TL + KDV

DIN6343 OTOMAT PENSİ

161E Ø 10mm Altıköşe

(F32)

  • Delik Ölçüsü : Ø 10mm
  • Delik Tipi : Altıköşe
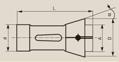
 Pens Boyutları :
  • d : 32mm 
  • D : 45mm
  • A : 34mm
  • L : 75mm
  • α : 15°
  • Ambalaj İçeriği : 1 Adet 
  • Marka : Gürkan 

İlgili Katalog Sayfası;   (101 KB)

Gürkan Genel Katolog 2023;   (16.72 MB)

SON BAKILAN ÜRÜNLER
T-Soft E-Ticaret Sistemleriyle Hazırlanmıştır.