2.000 ₺ VE ÜZERİ ALIŞVERİŞİNİZDE KARGO ÜCRETSİZ
Menü
Üye Girişi
Şifremi Unuttum
Kayıt Ol
Sepetim

136E0450RLS - 136E DIN6343 PENS 4MM YUVARLAK KANALSIZ UZUN

Katolog Kodu : 136E040RLS
2.963,08 TL + KDV
Fiyat Alarmı

Tükendi

Teslimat Sorunuz
2.963,08 TL + KDV

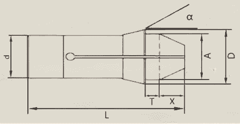
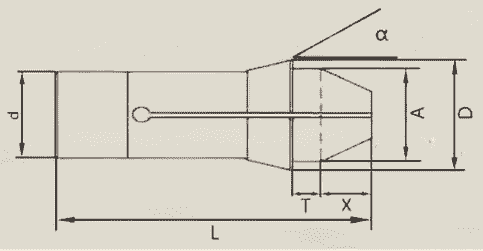
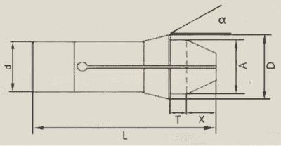
DIN6343 OTOMAT PENSİ UZUN BURUNLU

136E Ø 4mm Yuvarlak Uzun Burunlu Kanalsız

(F20-201)

  • Delik Ölçüsü : Ø 4mm
  • Delik Tipi : Yuvarlak Uzun Burunlu Kanalsız
  • Burun Uzunluğu : T: 5mm    X:12mm
 Pens Boyutları :
  • d : 20mm 
  • D : 26mm
  • A : 19mm
  • L : 71mm
  • α : 15°
  • Ambalaj İçeriği : 1 Adet 
  • Marka : Gürkan 

İlgili Katalog Sayfası;   (100 KB)

Gürkan Genel Katolog 2023  (16.72 MB)

T-Soft E-Ticaret Sistemleriyle Hazırlanmıştır.