2.000 ₺ VE ÜZERİ ALIŞVERİŞİNİZDE KARGO ÜCRETSİZ
Menü
Üye Girişi
Şifremi Unuttum
Kayıt Ol
Sepetim

T7600IN SM ÇAPAK FREZE INOX ( ATA Garryson )

Katolog Kodu : T7600IN
842,80 TL + KDV
Fiyat Alarmı

Tükendi

Teslimat Sorunuz
842,80 TL + KDV

SERT METAL ÇAPAK ALMA FREZE ( ATA Garryson )

T7600IN SM ÇAPAK ALMA FREZE PASLANMAZ 

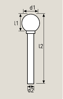
  • Form D - Küre 
  • d1 Kesici Çapı : 10mm
  • l1 Kesici Çapı  : 9mm 
  • d2 Sap Çapı     : 6mm
  • l2 Tam Boy      : 53mm
  • Marka: Garryson
  • Ambalaj İçeriği: 1 Adet 
İlgili Katalog Sayfası;   (151 KB)

Gürkan Genel Katolog 2023;   (16.72 MB)

T-Soft E-Ticaret Sistemleriyle Hazırlanmıştır.